有效针对外贸业务场景
立即查看 >
扫码添加微信,预约免费演示
数字化外贸综合营销决策平台
请完善以下信息,以便为您安排演示或样本
已自动分配售前顾问为您服务。请添加微信,更快获取项目案例和报价
EN
广交世界、互利天下。广交会对外商的强大引力,不仅来自优质的"中国制造",更有扩大开放带来的全球合作新机遇。
墨西哥采购商阿尔瓦雷斯·桑兹·杰拉尔多首次参加广交会,穿梭在各个展区,一次次挤进人潮,短短一天就"淘"到了缆线、冰箱、空调等领域的新品。他表示"中国制造"和"中国品牌"在墨西哥很受欢迎。
拉美市场是一个正在蓬勃开展的市场,有很多的外贸商机,墨西哥作为该市场为数不多人口过亿的国家,进口需求旺盛,是外贸出口的一块圣地。今天就谈谈该市场的开发方法,希望能帮助到大家。

2019年至2022年,墨西哥与中国的贸易以年均15.2%的速度增长,中国已经成为墨西哥在全球第二大贸易伙伴,在亚太地区第一大贸易伙伴,同时中国也是墨西哥第二大进口来源国和第三大出口市场,2022年,中墨贸易总额为949.65亿美元,同比增长9.8%,中方出口775.35亿美元,同比增长15.1%。
现在中国主要向墨西哥市场出口电话、液晶设备、计算机零件、电子集成电路、电话、汽车零件、电力变压器以及电话和电视发射器和接收器的零件。


从上表可以看出,2018-2022年,我国对墨西哥的传统出口品类发挥稳定,电机、机械器具、车辆及零附件、有机化学品、铝及其制品、家具等家居产品、塑料及其制品、钢铁制品持续上榜前十,且基本都实现了翻倍增长。
5年间,光学、照相、电影、计量、检验、医疗或外科用仪器及设备、精密仪器及设备一度冲到前四,而后又在2022年掉出榜单。
墨西哥电子电器产品多为中国品牌在当地组装后进行出口;汽车品牌中也不乏来自中国的北京汽车、江淮汽车等,但截至现在,中国汽车品牌全部用来满足当地市场需求。

中国对墨西哥车辆及零附件产品的出口额趋势在经历2020的低谷之后,实现三级跳。2022年,出口额同比增长44.6%,相比2018年增长97%;在出口量方向,墨西哥是我国汽车出口最多的国家,同比增长了170%。
据墨西哥国家地理统计局数据,2022年1月至11月,墨西哥共进口汽车约65.2万辆,其中中国制造的汽车占比约23.5%。中国成为墨西哥进口汽车第一大来源国,美国、巴西、日本和印度位列其后。
1、墨西哥当地展会
国内展会推荐广交会,但是墨西哥商人去的也很少。如果主打墨西哥市场的话,建议去墨西哥当地去参加展会。墨西哥的五金展和建材展人流量很大。如果你有意向的客户,一定要在将展位号及时告知他,邀请他过去参加,很容易成单。
2、墨西哥进口海关数据
顺利获得墨西哥的进口海关数据、能快速得到目标采购商,是找客户比较快捷的一个方法,可以考虑购买数据。可以去找一些免费墨西哥海关数据,看看能不能利用。
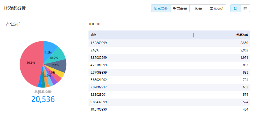
比如利用凯发K8天生赢家一触即发外贸通开发墨西哥客户:
在【商情发现】搜索框中输入"产品关键词"、"HS编码""公司名称"、"SCI编码"等条件查询,可看到"对该产品有采购需求"的全部国外采购商;国家选择"墨西哥",可看到"对产品有采购需求"的墨西哥采购商。

将目标客户加入【商情雷达】,清晰分析潜在客户的采购时间、采购对象、采购数量、采购价格、采购频率、采购关系,精准刻画客户画像,为开发和跟进客户给予决策依据。




3、墨西哥当地资深行业协会
墨西哥有很多协会,可以利用协会去开发客户,效果非常好。Google搜索:产品关键词 + Mexico + association,寻找产品相关协会,对协会会员进行分析、筛选,寻找潜在客户。
4、墨西哥黄页
墨西哥黄页:http://www.seccionamarilla.com.mx/墨西哥出口名录:http://www.lameibiz.com/ 墨西哥搜索黄页:http://www.yellow.com.mx/ 墨西哥索引黄页:http://www.trace-sc.com/firms.htm
这些黄页网站都可以试试,也能找到很多潜在客户。不要怕麻烦,免费的找客户方法比拼的就是耐心和恒心,你想要客户,就要比别人勤奋、努力。
5、墨西哥B2B
http://www.mercatrade.com/http://www.perfeto.com/http://www.mexicochina.com/
这些都是墨西哥比较知名的B2B,可以注册发布产品,根据自己的行业择优选择一个平台进行付费入驻,也能收获到一些询盘。发布产品一定要用西班牙语发布,多提升自己的语言水平吧,好处多多。
6、墨西哥当地搜索引擎
谷歌:http://www.google.com.mx/墨西哥本地搜索引擎:http://www.mexicoweb.com.mx/
将产品关键词翻译成的西班牙语,去搜索,逐步筛选、分析,能找到很多潜在采购商。一定要有耐心、有计划的找、并实行记录,很多外贸业务员都输在了不坚持上,找着找着就半途而废了。如果你能坚持下去,一定会有很多收获。
搜索关键词可以用这些:产品关键词(+公司名称后缀/邮箱后缀/importers/buyer/company/wholesaler/retailer/supplier/vendor/...,多变换关键词,并对查询结果实行统计。
建议大家多掌握一些Google搜索方法,有助提升找客户速度。想学习Google搜索的外贸人,可以参加《维尼15天客户开发训练营》,可点击这个链接分析详情:http://mp.weixin.qq.com/s/mNym_1_RpVFAleqsxAfF7Q。
7、国外社交平台
墨西哥人比较常玩的社交平台有:Facebook、LinkedIn、Youtube,外贸人完全可以利用这些平台进行企业宣传、产品推广,但是这些平台应用要遵循一些规则,否则就会被封号,切忌频繁加人、加群、发广告。
一点建议给大家:一定要多站在客户的角度去发文章,比如:产品相关技术性的文章、行业生态链相关的新闻、产品的维护保养方法,等等,其中适当的位置提到自己的产品和公司,不仅不会被封号,还会收到客户的喜欢和关注,时间久了,自然会主动咨询你,当客户主动咨询你的时候,你就有了成单的优势。
可以将以上方式搜集到的"潜在墨西哥客户的企业名称、联系人姓名"在这些社交平台上搜索,能取得该企业更多的联系方式,甚至能得到采购决策人的联系方式。可以直接和他们在线沟通谈判,比邮件的跟进效率要快。